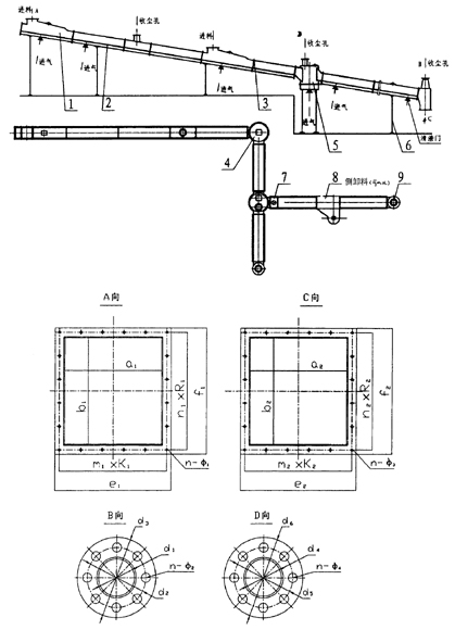
氣力輸送斜槽
空氣輸送斜槽是一種用于輸送干燥粉狀物料的氣力輸送設備。在水泥工業中常用于輸送水泥和生料粉。空氣輸送斜槽在輸送物料中因為、沒有轉動部件,易于維護,密封性好,無噪音,操作安全可靠,耗電少,改變輸送方向方便,并能多點喂料和多點卸料而得到廣泛的應用。空氣輸送斜槽的主要構件是透氣層,空氣輸送斜槽采用PETS-6(滌綸)型合成纖維織物,是一種新型透氣型,它具有耐高溫(可達

二、技術性能
輸送物料:含水量≤1%,溫度≤
輸送能力:輸送水泥及生料成品時的輸送能力如下表所列:
三、技術參數
規格
XZ200
XZ250
XZ315
XZ400
XZ500
XZ630
XZ800
槽體寬度
m m
200
250
315
400
500
630
800
輸 送 能 力
a=4°
水泥
T/h
22
40
70
130
220
320
400
生料
16
30
55
100
165
245
310
a=6°
水泥
40
65
120
250
400
610
765
生料
30
55
90
185
300
455
565
a=8°
水泥
50
80
140
300
470
720
900
生料
35
65
110
225
355
540
670
a=10°
水泥
60
100
170
380
570
900
1080
生料
45
80
140
285
425
670
800
a=12°
水泥
70
120
205
455
685
1080
1295
生料
50
95
165
340
510
805
960
槽體節長
標準節
m m
2000
非標準節
m m
250
需要風壓
KPa
4-5.5
需要風量
m3/m2.min
1.5-2
透 氣 層
材質
合成纖維
厚度
m m
4-6
耐溫
℃
150
徑向斷裂強度
N/cm寬
4700
阻力
Pa
800-1200(在2m3/m2.min條件下)
您可能會對以下產品感興趣
產品好不好 用我們的業績證明
奧普核心合作伙伴
企業規模怎么樣 用我們的資質說明
生產能力怎么樣 用我們的設備和團隊表明
新聞動態
- 側式懸臂堆料機的構造及原理
- 什么是 熟料散裝機,有哪三大性能特點
- 什么是 氣箱脈沖布袋除塵器,安裝注意事項概述
- 橋式刮板取料機的特點及操作注意事項
- 什么是圓盤給料機,有哪些優勢特點
- 斗式提升機的六大特點概述
- 操作連續式均化庫的四大注意事項
- 移動式堆料機三大優勢特點及使用步驟
- 關于網站內容違禁詞、極限詞失效說明
- 斗式提升機的工作過程分為哪三個階段
- 了解空氣輸送斜槽的操作注意點嗎
- 空氣輸送斜槽幾種工作形式介紹
- 還不了解空氣輸送斜槽嗎
- 空氣輸送斜槽的技術性能指標,你了解了嗎
- 空氣輸送斜槽的優越技術性能,看完明白了!
- 空氣輸送斜槽的技術性能,還不了解嗎
- 奧普空氣輸送斜槽等設備裝車發貨
- 使用空氣輸送斜槽出現堵塞的原因,一定要看!
- 空氣輸送斜槽運行中堵塞的原因有哪些呢
- 談談空氣輸送斜槽的技術性能表現


