水泥儲存庫

一、概述
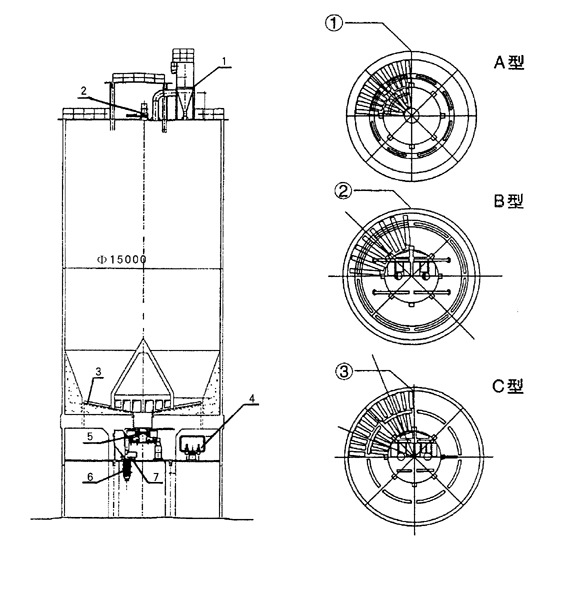
水泥儲存庫是在庫底中心位置設一錐形混合室,以降低庫內的卸料壓力,消除漏斗流?;旌鲜以O8-12個進料孔,在混合室和庫壁之間的環形區設有8-12個充氣區,卸料時輪流向相對的環形小區充氣,使部分水泥流向中心混合室。在自上而下的流動過程中,切割水平料層而產生重力混合作用,進入混合室后又因混合室內的連續充氣攪拌而進一步均化。這種庫的均化值可達5-9。電耗0.15-0.30kwh/t。
二、水泥儲存庫示意圖

三、 Φ
|
序號
|
名稱及規格
|
數量
|
單位
|
|
1
|
氣箱式脈沖收塵器PPC32-4 風機:9-26No8D
|
1
|
套
|
|
2
|
庫頂進料系統
|
1
|
套
|
|
3
|
庫底、庫內充氣系統
|
1
|
套
|
|
4
|
雙六咀空氣分配閥2-Φ500
|
1
|
臺
|
|
5
|
庫底卸料閥系統
|
2
|
套
|
|
6
|
庫底散裝機 ZSQ300/600
|
1
|
臺
|
|
7
|
羅茨風機MJL200b風量:15.4m3/min 風壓:68.4Kpa 功率:37KW
|
1
|
臺
|
上一頁:[均化庫]
下一頁:


