防爆閥FBF-Ⅲ
概述
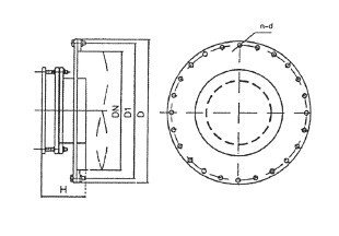
該閥廣泛適用于建材、冶金、化工、電工等行業部門,作為壓縮易爆管道的卸料裝置。該閥結構簡單,由法蘭、盲板、筒體和防爆閥片組成。當系統壓力大于表壓力時,防爆閥片自行破裂,防止系統發生爆炸。以保證生產和人身安全。
技術參數表
使用壓力 | 適用溫度 | 適用介質 |
≤0.1Mpa | ≤150℃ | 壓縮易爆氣體 |
FBF-Ⅲ圖示

主要連接尺寸
DN | D | D1 | H | m-d | 重量(kg) |
700 | 860 | 810 | 265 | 24-Φ26 | 134 |
750 | 920 | 865 | 265 | 24-Φ30 | 147 |
800 | 975 | 920 | 265 | 24-Φ30 | 159 |
900 | 1075 | 1020 | 265 | 24-Φ30 | 186 |
1000 | 1175 | 1120 | 265 | 28-Φ30 | 213 |
1100 | 1302 | 1240 | 265 | 28-Φ30 | 241 |
1200 | 1405 | 1340 | 265 | 32-Φ30 | 272 |


